Case Cx36b Specs

The cx 36 b zts mini excavator model is manufactured by case.
Case cx36b specs. Case cx36 mini excavator get through the hardest job with ease thanks to the cx36 improved cycling times increased engine power and better hydraulic pressure. 2009 case cx36b mini excavator s n nztn62010 only 3 108 hours comes with 4 buckets clean out 36 bucket 12 bucket 18 bucket 24 bucket backfill blade quick coupler auxilary hydrualics 1 brand new track 28 4 hp yanmar diesel engine operating weight 7 958 lbs in excellent condition. 2010 case cx31b mini excavator 1 4 9 tons 1663 north east md. Find case cx36b zts mini excavator for sale.
2005 case cx36b mini excavator 1 4 9 tons 5471 ocana esp. With a small footprint and zero tail swing the case cx36b mini excavator gives you the ability to travel and work within tight restricted areas. Actual equipment may vary with options. Find equipment specs and information for this and other excavators.
2013 bobcat e35 zts mini excavator 1 4 9 tons 2411. Specs for the case cx36b. Description case cx36b excavator manual. 2017 case cx37c mini excavator 1 4 9 tons 215 maltby gbr.
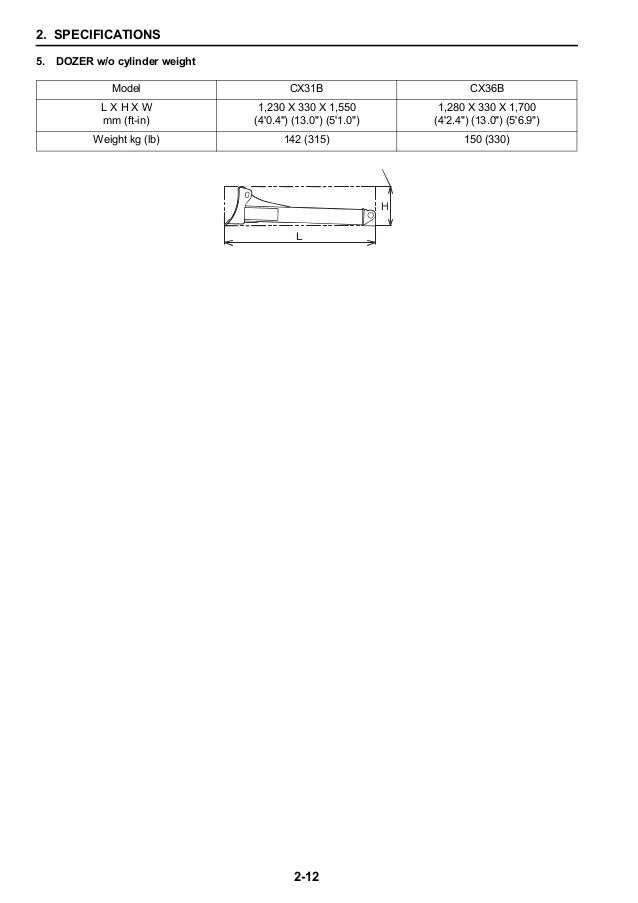
Case cx36b excavator service manual tier 4b 1312 pages. Find and download detailed specs and data sheets for this machine here. Oem specifications are provided for base units. Case cx36b zts specifications technical data 2005 2017 model 2005 2017 other machines by case rate this machine now.
If your really looking to increase the performance of your case cx36 consider adding a excavator thumb attachment. Increased engine power along with hydraulic pressure and hydraulic flow combine to provide you with more power and speed for better cycle times getting you through the toughest jobs quickly. Use our comparison tool to find comparable machines for any individual specification. 47795403 47370128a english january 2016 april 2012 format.
Equipped with a.